Infinity Headwear & Apparel, LLC v. Jay Franco &
Sons, Inc., 2017 WL 3309724, No. 15-CV-1259 (S.D.N.Y. Aug. 2, 2017)
Infinity sued Jay Franco for patent infringement, false
marking, and false advertising. Infinity
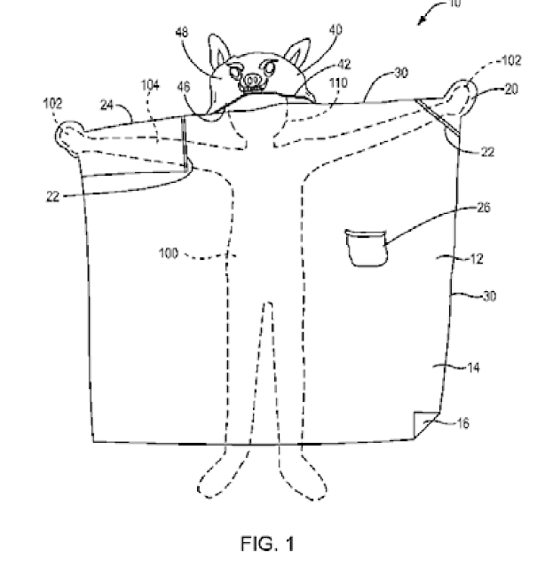
has U.S. Patent No. 8,864,544, “Hooded Blanket and Stuffed Toy Combination,”
directed to “a blanket having a hood comprising an ornamental surface, wherein
upon stowing the body of the blanket within an interior volume of the hood, a
stuffed toy is provided.”
(I personally think this is the stuff(ed animal) of nightmares.) Franco’s allegedly infringing product is a “[w]earable
[s]tuffed [a]nimal,” called “Janimals”:
The key question on patent infringement was whether the Jay
Franco product had the “blanket” limitation of the claims; the court denied
summary judgment to Infinity on the question of whether the accused products,
which Franco previously described as “full body ‘onesie’ type garments,” were
“blankets.”
False marking/false advertising: Franco’s products were
marked with the words, “Worldwide patent pending,” but that’s not true (despite
an early failed attempt to patent). To bring suit under the false marking
statute, a plaintiff must have “suffered a competitive injury as a result of a
violation” of the marking statute. A competitive injury is “[a] wrongful
economic loss caused by a commercial rival, such as the loss of sales due to
unfair competition; a disadvantage in a plaintiff’s ability to compete with a
defendant, caused by the defendant’s unfair competition.”
Infinity relied on testimony from Jay Franco’s president
that the false marking was important because it indicated exclusivity, which
was valuable in selling to retailers and created a market advantage. However, the president’s personal belief in
potential market benefits was insufficient. Gravelle v. Kaba Ilco Corp., the
Federal Circuit recently concluded that such speculative testimony from a plaintiff was insufficient to establish
the causal nexus between false marking and competitive injury. No. 2016-2318,
2017 WL 1349278, at *4 (Fed. Cir. Apr. 12, 2017) (per curiam) (nonprecedential).
The court here saw no difference in the defendant’s subjective belief. Infinity must offer evidence “to support the
causal proposition, which is anything but obvious, that buyers actually
purchased the ‘patent pending’ [products] over [Infinity’s products]—or would
have bought [Infinity’s products] (as opposed to either [Franco’s] or someone
else’s) had [Franco] not falsely stated ‘patent pending.’ ”
The same analysis applied to proximate cause under Lexmark for the false advertising claim.


No comments:
Post a Comment